Size: a a a

2019 January 30
ULTRA
​​Новость для тех, кто по дефолту недоволен дороговизной Apple и никак не отпустит доллар по 30. Тим Кук заявил, что компания планирует снизить цены на  продукцию Apple в странах, где местная валюта сильно просела по отношению к сильному доллару.

В первую очередь, это касается, конечно же, Китая, но, также новая программа должна зацепить Индию, Россию, Бразилию и Турцию.
источник
2019 February 01
ULTRA
На YouTube магическим образом засветился скорее всего, официальный проморолик Samsung со складным смартфоном южнокорейской компании. Иии... Черт возьми, девайс совсем не уродливый. Пусть теперь Samsung придумает реально рабочие кейсы использования смартфона. А то AR-игры с друзьми как-то ну так себе.
источник
ULTRA
А это слитый пресс-рендер Galaxy S10. Официальнее только 20 февраля во время презентации.
источник
ULTRA
Долгое время считалось, что у iPhone лучшие камеры среди смартфонов. Но вышел Pixel 3 и Google начала троллить Apple за херовые снимки в условиях с плохим освещением.
источник
2019 February 02
ULTRA
Один из топ-менеджеров Xiaomi опубликовал, а затем быстро удалил снимок с Mi 9. Судя фотке, новинка получит тройную камеру, глянцевый корпус и сканер отпечатков пальцев в экране.
источник
ULTRA
А это, похоже, несколько смартфонов Energizer. Всего, напомню, их больше 20-ти. Все покажут на MWC.
источник
2019 February 03
ULTRA
Да, кстати, все шумят в основном про складной смартфон Samsung, а ведь следом за корейцами аналогичный девайс представит и Huawei. На MWC, 24-го февраля.
источник
ULTRA
​​Этот кошмар — предполагаемый рендер Huawei P30 Pro.

Что-то iPhone 11 со странной тройной камерой уже не кажется таким уродцем.
источник
2019 February 05
ULTRA
​​РБК пишет, что Московский метрополитен работает над новой системой оплаты проезда. После «апдейта» с «Тройки» при входе в транспорт или подземку будут сниматься разные суммы в зависимости от района посадки, времени суток и других факторов. Внедрение системы начнётся уже в следующем году и будет поэтапным.

Несмотря на то, что РБК опирается на официальную документацию, в Метрополитене всё отрицают.
источник
ULTRA
В новом инсайде по Xperia XZ4 говорится, что аппарат может получить тройную камеру с разрешением 52 Мп у главного модуля. Также будет телефото на 16 Мп и ToF на 0,3 Мп.
источник
ULTRA
​​Директор по продуктам Xiaomi Ван Тенг Томас написал в Weibo, что недавно щупал Black Shark 2, который, по словам топ-менеджера, «очень мощный». Есть мнение, что новый игровой смартфон анонсируют в апреле. В том же месяце прошлого года анонсировали первый Black Shark.
источник
2019 February 06
ULTRA
​​Чисто киношная история. Цинь Кишен 43 лет от роду нашёл в банкоматах компании Huaxia Bank баг с безлимитным обналичиванием. Уязвимость заключается в том, что ближе к полуночи банкоматы тупо не фиксировали вывод средств. Так китаец на протяжении нескольких лет снимал по $740-2 965 и наснимал более миллиона.

Стоит отметить, Кишен был сотрудником Huaxia Bank. И банк его простил. Ведь Цинь хранил деньги на «тестовом» счёте компании, а не тратил. А вот правоохранительные органы китайца не простили. Программиста приговорили к 10,5 годам.
источник
ULTRA
«Ведомости» пишут, что «Яндекс» приступил к производству оригинальных сериалов. В планах от 8 до 10 проектов. Подтверждены уже два: «Министерство» — про коррупцию и чиновников; «Водоворот» — некий детектив от телекомпании Александра Цекало «Среда».

Премьера не раньше 2020 года.
источник
ULTRA
​​Аналитическая компания CIRP выяснила, что HomePods занимает всего 6% на рынке смарт-динамиков. У Amazon и Google — 70% и 24% соответственно.

Проблема Apple — дорого. А ещё у других производителей куча модификаций продукта, а у Apple нет.
источник
2019 February 07
ULTRA
Отличная история про стартап от украинских школьников. Они придумали бесконечный блокнот nuka, который не гнётся, не рвётся и не мокнет. Каждый лист блокнота можно обновить, стерев след карандаша специальной салфеткой.

И, чёрт возьми, я буду расстроен, если проект не «стрельнёт». Ведь, если так посмотреть, группа подростков — чёртовы генiи! Вдумайтесь, человечество отправляет зонды на марс, редактирует гены, создаёт искусственные интеллекты, а бумага и карандаш со времён освоения практически не менялись. Вот уже несколько веков школьники годами рисуют каракули писалом в тетрадках! А тут вот свежее видение.
источник
ULTRA
Баги — неотъемлемая часть использования компьютеров, смартфонов и прочей техники со сложным ПО. Однако, как правило, сбои в худшем случае приводят к переустановке Windows или перезагрузке смартфона. Но! Есть и такие ошибки, которые разрушат компоненты устройств физически. С одной из катастрофичных ошибок надавно столкнулись пользователи Mac-версии Adobe Premiere CC.

На форуме утилиты несколько пользователей пожаловались на странное поведение их Macbook’ов во время монтажа. Если быть точным, их ноуты на пару мгновений словно превратились в приёмники радиосигнала из ада. Во время работы в Adobe Premiere машины начали издавать нереально громкие шипящие и скрипящие звуки. В следствии чего динамики Mac’ов перманентно выходили из строя. У каждого, кто столкнулся с ошибкой, после перезагрузки лептопа колонки работали очень тихо и «грязно».

Судя по сообщениям пострадавшим, все они словили баг во время настройки звука с открытым проектом в Adobe Premiere.
источник
ULTRA
​​Microsoft анонсировала пресс-конференцию Build 2019, на которой как минимум должны рассказать о Windows Lite. Мероприятие пройдёт 6-8 мая в Сиэттле.

Подробный лайнап раскроется 27 февраля, когда начнётся регистрация журналистов.
источник
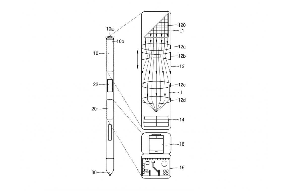
ULTRA
​​В патентах Samsung нашли описание стилуса со встроенной камерой. В перспективе эта концепция позволит корейцам безболезненно распрощаться с фронтальной камерой Galaxy Note. Ибо зачем она, когда можно достать стилус и обфоткаться со всех ракурсов.

Непонятно, правда, что делать, когда «карандашек», не приведи господь, сломается или потеряется.
источник
2019 February 09
ULTRA
​​До анонса Galaxy S10 остаются считанные дни и утечек становится всё больше. Так, например, появились подробности о фронталке обычной 10-ки: она получит 10-мегапиксельный сенсор, оптическую стабилизацию и, что особенно приятно, сможет записывать видео в 4К. То есть влогеры должны быть от S10 без ума.

Как мы помним, S10+, в свою очередь, выйдет с двойной фронталкой. Так вот последние утечки гласят, что второй объектив нужен только для определения глубины.
источник
ULTRA
​​Также подъехала инфа о фронталке LG G8 ThhinQ. Она получит вспомогательный ToF-модуль. В последнее время это довольно модна опция, но как правило ею дополняют наборы основных камер. А LG решила выделиться.

Причём конкретно эта ToF-камера будет не простой, а разработанной LG совместно с Infineon Technologies специально для G8. Производитель обещает «новый уровень возможностей фронтальной камеры».
источник