Size: a a a

VR Journal - Уютненько о VR/AR/MR/360-технологиях

2020 September 24
VR Journal - Уютненько о VR/AR/MR/360-технологиях
Палмер Лаки инвестировал в неофициальный магазин приложений SideQuest для Oculus Quest

🗞 Читать на сайте VR Journal
источник
VR Journal - Уютненько о VR/AR/MR/360-технологиях
Facebook говорит, что беспроводная технология для Oculus Quest 2 "недостаточно развита"

🗞 Читать на сайте VR Journal
источник
VR Journal - Уютненько о VR/AR/MR/360-технологиях
Kia Motors использует Varjo XR-1 для проектирования и дизайна автомобилей

🗞 Читать на сайте VR Journal
источник
2020 September 25
VR Journal - Уютненько о VR/AR/MR/360-технологиях
Что думает CEO Playstation о виртуальной реальности?

🗞 Читать на сайте VR Journal
источник
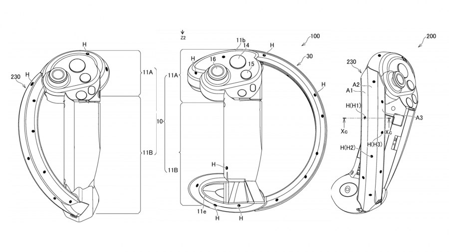
VR Journal - Уютненько о VR/AR/MR/360-технологиях
Патентная заявка на новые контроллеры PSVR 2

🗞 Читать на сайте VR Journal
источник
VR Journal - Уютненько о VR/AR/MR/360-технологиях
HP Reverb G2 поступит в продажу в ноябре

🗞 Читать на сайте VR Journal
источник
2020 September 27
VR Journal - Уютненько о VR/AR/MR/360-технологиях
Добрый воскресный вечер, уважаемые читатели. Традиционный воскресный обзор от команды VR Journal. По всем вопросам и предложениям пишите на editor@vr-j.ru или прямо сюда - @EMarchenberg.

1. C 2019 года для Oculus Quest было продано игр и приложений на 150 млн $

2. Корпоративная версия Quest 2 за 800 $

3. Microsoft приобретает студию Bethesda

4. HP Reverb G2 поступит в продажу в ноябре

5. Oculus Developer Hub для упрощения разработки для Quest

6. BMW использует AR для создания прототипов автомобилей
источник
2020 September 28
VR Journal - Уютненько о VR/AR/MR/360-технологиях
Генеральный директор Bigscreen: комиссия в 30% от Facebook вредит индустрии

🗞 Читать на сайте VR Journal
источник
VR Journal - Уютненько о VR/AR/MR/360-технологиях
Гоночная серия NASCAR предлагает собственную AR-игру

🗞 Читать на сайте VR Journal
источник
VR Journal - Уютненько о VR/AR/MR/360-технологиях
Мы знаем, что нас читает большое количество компаний. Присоединяйтесь к нашим друзьям в AVRA-комьюнити, расскажите о себе и станьте частью AR/VR-рынка!
источник
VR Journal - Уютненько о VR/AR/MR/360-технологиях
Переслано от Kate Filatova
Запускаем сбор заявок для Карты рынка AR/VR-технологий.  Решили провести перекличку, кто драйвит отрасль, создает яркие проекты с AR/VR/MR/360 и технологии, поддерживает отрасль в целом. И кто еще в отрасли после весеннего затишья...

Мы в AVRA Ассоциации объединяем участников индустрии ) и решили в этом году обновить карту рынка. Прошлая попала в топ яндекс новостей и на столы заказчиков как "навигатор" по AR/VR-компаниям.
В этом году будет более детализированная карта 😃

Заявить о себе можно на сайте https://avradays.com/map
источник
2020 September 29
VR Journal - Уютненько о VR/AR/MR/360-технологиях
SideQuest рассказывает о дальнейших планах после получения инвестиций

🗞 Читать на сайте VR Journal
источник
VR Journal - Уютненько о VR/AR/MR/360-технологиях
Все заказы на VR-гарнитуру Pimax 8K X будут отправлены к 30 сентября

🗞 Читать на сайте VR Journal
источник
VR Journal - Уютненько о VR/AR/MR/360-технологиях
Сбор заявок для карты рынка AR/VR-технологий от Ассоциации AVRA

🗞 Читать на сайте VR Journal
источник
2020 September 30
VR Journal - Уютненько о VR/AR/MR/360-технологиях
Microsoft сертифицировала студию объемного захвата изображений Avatar Dimension для VR и AR

🗞 Читать на сайте VR Journal
источник
VR Journal - Уютненько о VR/AR/MR/360-технологиях
TeamViewer и Ubimax представляют AR-платформу Frontline для удаленной помощи сотрудникам

🗞 Читать на сайте VR Journal
источник
VR Journal - Уютненько о VR/AR/MR/360-технологиях
Центр НТИ ДВФУ запускает программу обучения по строительному проектированию с использованием AR/VR-технологий

🗞 Читать на сайте VR Journal
источник
VR Journal - Уютненько о VR/AR/MR/360-технологиях
источник
2020 October 01
VR Journal - Уютненько о VR/AR/MR/360-технологиях
Десять интересных цитат от Джона Кармака из выступлении Facebook Connect

🗞 Читать на сайте VR Journal
источник
VR Journal - Уютненько о VR/AR/MR/360-технологиях
HP анонсировала VR-гарнитуру Reverb G2 Omnicept Edition

🗞 Читать на сайте VR Journal
источник